


LZB/LZJ (DN15-100)拉杆式流量计
拉杆式流量计具有结构简单,牢固,压力损失小等特点。耐腐型采用不锈钢材料或衬氟塑料,密封件可选氟橡胶或聚四氟乙烯等,对大部分
常用酸、碱、氧化剂、有机溶剂等有较强的耐腐蚀性。 DN4-10 采用软管连接,亦可根据客户需要设计、制造特殊安装方式。
1. 型号规格及主要技术参数
|
公称通径( mm ) |
型号 |
测量范围 |
准确度等级 |
允许被测流体状况 |
||
|
水 20 ℃ |
空气 20 ℃ 101325Pa |
温度(℃) |
压力等级( MPa ) |
|||
|
15 |
LZB-15 LZB-15F |
10 ~ 100L/h 16 ~ 160L/h 25 ~ 250L/h 40 ~ 400L/h 60 ~ 600L/h* |
0.25 ~ 2.5m3/h 0.4 ~ 4m3/h 0.6 ~ 6m3/h 1.2 ~ 12m3/h 2 ~ 20m3/h* |
2.5 级 耐腐型为 4 级 |
-20 ~ 120 |
≤ 0.6 |
|
25 |
LZB-25 LZB-25F |
40 ~ 400L/h 60 ~ 600L/h 100 ~ 1000L/h 160 ~ 1600L/h 250 ~ 2500L/h* |
1 ~ 10m3/h 1.6 ~ 16m3/h 2.5 ~ 25m3/h 5 ~ 50m3/h 6 ~ 60m3/h* |
1.5 级 耐腐型为 4 级 |
||
|
40 |
LZB-40 LZB-40F |
160 ~ 1600L/h 250 ~ 2500L/h 400 ~ 4000L/h* |
4 ~ 40m3/h 6 ~ 60m3/h 12 ~ 120m3/h* |
|||
|
50 |
LZB-50 LZB-50F |
400 ~ 4000L/h 600 ~ 6000L/h 1000 ~ 10000L/h* |
10 ~ 100m3/h 16 ~ 160m3/h 30 ~ 300m3/h* |
|||
|
80 |
LZB-80 LZB-80F |
1000 ~ 10000L/h 1600 ~ 16000L/h 2500 ~ 25000L/h 3600 ~ 36000L/h* |
25 ~ 250m3/h 40 ~ 400m3/h 60 ~ 600m3/h 100 ~ 1000m3/h* |
≤ 0.4 |
||
|
100 |
LZB-100 LZB-100F |
5 ~ 25m3/h 8 ~ 40m3/h 20 ~ 60m3/h 40 ~ 100m3/h* |
120 ~ 600m3/h 200 ~ 1000m3/h 600 ~ 1600m3/h 1200 ~ 3000m3/h* |
|||
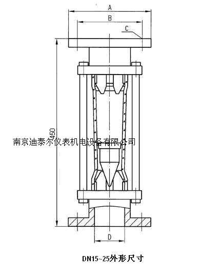
2. 外形及安装连接尺寸
|
公称通径( mm ) |
A |
B |
C |
D |
|
15 |
Φ 95 |
Φ 65 |
4- Φ 14 |
Φ 15 |
|
25 |
Φ 115 |
Φ 85 |
Φ 25 |
|
|
40 |
Φ 145 |
Φ 110 |
4- Φ 18 |
Φ 40 |
|
50 |
Φ 160 |
Φ 125 |
Φ 50 |
|
|
80 |
Φ 185 |
Φ 150 |
Φ 80 |
|
|
100 |
Φ 205 |
Φ 170 |
Φ 100 |
注:法兰标准 GB/T9119-2000, 也可按照用户要求定做。
3. 流量计接触测量流体的零部件材质
|
零件名称 |
普通型材质 |
耐腐型材质 |
|
密封片 |
橡胶 |
氟橡胶 |
|
锥管 |
硼硅酸盐玻璃 |
|
|
浮子 |
不锈钢、铝、 PTFE |
外包氟塑料 |
|
止档 |
尼龙 |
PTFE |
|
基座 |
铸铁涂耐腐漆 |
铸铁内衬氟塑料 |
LZB-( )W(B)(F)系列改进型小流量玻璃转子流量计
该系列流量计用于检测和调节微小流量,结构轻巧,分为带调节阀( WB 型)和不带调节阀( W 型)两种。还可根据客户使用情况制造耐腐型( WBF 和 WF 型)。连接方式分为软管连接和螺纹连接。
1. 型号规格及主要技术参数
|
公称 通径 DN mm |
型号 |
范围度 |
测量范围 |
准确度等级 |
锥管长度 mm |
允许被测流体状况 |
||
|
水 (20 ℃ ) |
空气 (1.013 × 10 5 Pa20 ℃ ) |
温度 |
压力 MPa |
|||||
|
3 |
LZB-3W(F) LZB-3WB(F) |
10:1 |
0.4 ~ 4l/min 0.6 ~ 6ml/min 1 ~ 10ml/min 2.5 ~ 25ml/min 4 ~ 40ml/min 6 ~ 60ml/min 10 ~ 100ml/min |
6 ~ 60ml/min 10 ~ 100ml/min 16 ~ 160ml/min 0.03 ~ 0.3L/min 0.06 ~ 0.6L/min 0.1 ~ 1L/min 0.15 ~ 1.5L/min |
4 级 耐腐型为 6 级
|
100 |
-20 ~ 120 ℃ |
≤ 0.2 |
|
4 |
LZB-4W(F) LZB-4WB(F) |
16 ~ 160ml/min 25 ~ 250ml/min 40 ~ 400ml/min |
0.3 ~ 3L/min 0.6 ~ 6L/min 0.7 ~ 7L/min |
4 级 耐腐型为 6 级 |
||||
|
6 |
LZB-6W(F) LZB-6WB(F) |
40 ~ 400ml/min 60 ~ 600ml/min 0.1 ~ 1L/min |
0.7 ~ 7L/min 1 ~ 10L/min 1.5 ~ 15L/min |
2.5 级 耐腐型为 4 级 |
||||
|
10 |
LZB-10W(F) LZB-10WB(F) |
0.1 ~ 1L/min 0.16 ~ 1.6L/min |
3 ~ 30L/min 5 ~ 45L/min |
100 |
||||
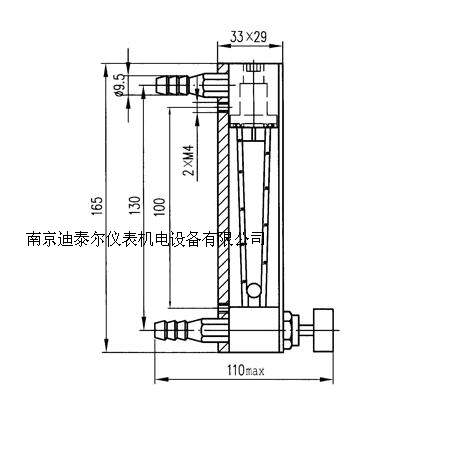
2. 外形及安装连接尺寸 :
流量计有带调节阀 (WB 型 ) 和不带调节阀 (W 型 ) 二种形式 , 其外形图见图一、图二,安装连接尺寸见表 1
图一
图二
表 1
单位: mm
|
型号 |
A |
B |
C |
D |
M |
E* |
软管接嘴 N |
金属管接嘴 |
设备安装孔 |
||
|
外螺纹 |
G |
h |
|||||||||
|
LZB-3W(F) LZB-3WB(F) |
23 |
136 |
52 |
22.5 |
116 |
< 74 |
Φ 8 |
M10*1 |
Φ 6.2 |
SR4 |
Φ 11 |
|
LZB-4W(F) LZB-4WB(F) |
|||||||||||
|
LZB-6W(F) LZB-6WB(F) |
|||||||||||
|
LZB-10W(F) LZB-10WB(F) |
56 |
26.5 |
< 78 |
Φ 10 |
M12*1 |
Φ 8.2 |
SR5 |
||||
注: *WB 专有
3. 流量计接触测量流体的零部件材质
|
浮子 |
基座 |
针阀 |
止档 |
O 形圈及密封垫片 |
|
|
普通型 |
不锈钢或玛瑙 |
黄铜镀铬 |
不锈钢 |
尼龙 |
橡胶 |
|
耐腐性 |
不锈钢 |
PTFE |
氟橡胶 |
LZB/LZJ (DN4-10 )系列改进型玻璃转子流量计
该系列流量计具有结构简单,牢固,压力损失小等特点。耐腐型采用不锈钢材料或衬氟塑料,密封件可选氟橡胶或聚四氟乙烯等,对大部分
常用酸、碱、氧化剂、有机溶剂等有较强的耐腐蚀性。 DN4-10 采用软管连接,亦可根据客户需要设计、制造特殊安装方式。
1. 型号规格及主要参数见下表 单位: mm
|
公称通径( mm ) |
型号 |
测量范围 |
准确度等级 |
允许被测流体状况 |
||
|
水 20 ℃ |
空气 20 ℃ 101325Pa |
温度(℃) |
压力等级( MPa ) |
|||
|
4 |
LZB-4 LZB-4F |
1 ~ 10L/h 1.6 ~ 16L/h 2.5 ~ 25L/h |
16 ~ 160L/h 25 ~ 250L/h 40 ~ 400L/h |
4 级 耐腐型为 6 级 |
- 20 ~ 120 |
≤ 1 |
|
6 |
LZJ-6 LZJ-6F |
2.5 ~ 25L/h 4 ~ 40L/h 6 ~ 60L/h |
40 ~ 400L/h 60 ~ 600L/h 100 ~ 1000L/h |
2.5 级 耐腐型为 4 级 |
||
|
10 |
LZJ-10 LZJ-10F |
6 ~ 60L/h 10 ~ 100L/h 16 ~ 160L/h |
100 ~ 1000L/h 160 ~ 1600L/h 250 ~ 2500L/h |
|||
2. 外形、安装连接方式及连接尺寸如下:
单位: mm
3. 流量计接触测量流体的零部件材质
|
零件名称 |
普通型材质 |
耐腐型材质 |
|
针阀 |
不锈钢 |
|
|
针阀座 |
黄铜镀铬 |
不锈钢 |
|
下基座 |
黄铜镀铬 |
不锈钢 |
|
止档 |
PTFE |
|
|
顶紧器 |
黄铜镀铬 |
不锈钢 |
|
闷头 |
黄铜镀铬 |
不锈钢 |
|
上基座 |
黄铜镀铬 |
不锈钢 |
|
密封片 |
橡胶 |
氟橡胶 |
|
锥管 |
硼硅酸盐玻璃 |
|
|
浮子 |
不锈钢或玛瑙 |
|
|
接嘴 |
黄铜镀铬 |
不锈钢 |
¥750.00 ¥750.00
FA24-25P耐高压玻璃转子流量计,500mm总长,FA24-15P FA24-40P FA24-50P玻璃管浮子流量计
没有评价数据